欢迎来到 济南中创工业测试系统有限公司

新闻中心

您现在所在位置:首页 >> 新闻中心 >> 公司新闻

弹条疲劳寿命测试机试验方法

更新时间:2020-07-28  浏览次数:

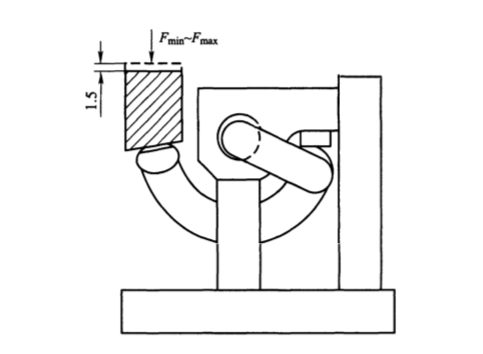
弹条疲劳寿命测试机主要用于测试弹条的疲劳强度、疲劳寿命、载荷疲劳、往复疲劳、耐久-疲劳、动刚度等力学性能检测。

测试原理:

通过弹条疲劳试验机向弹条施加周期位移,测定弹条的残余变形。

弹条疲劳试验机满足要求:

1、弹条疲劳试验机能以4Hz-16Hz频率施加周期位移-1.0mm-+0.5mm的疲劳测试机。

2、加力架:能模拟弹条安装位移的加力架。

3、加载块:与弹条接触面斜度为19的加载块。

4、弹条趾端高程测量胎具:能模拟弹条安装位置的胎具。

5、百分表:示值误差0.01mm的百分表。

6、直尺:示值误差0.5mm的直尺。

弹条疲劳试验机操作步骤:

1、将被测弹条装入置于测量平台上的弹条趾端高程测量胎具中,使弹条小圆弧内侧与胎具端部相距8mm-10mm

2、在弹条中肢于胎具一侧的位置划上标志线,并在弹条趾端压扁部分中心位置测量趾端高程。

3、将弹条放入加力架中,使弹条小圆弧内侧与胎具端部相距8mm-10mm。垫块,并将加载块放在弹条的趾端上。

4、在弹条疲劳试验机上加载,使弹条趾端想下产生13mm垂向位移,以次位移为基础施加-1.0mm-+0.5mm动态位移。荷载循环5*10^6次,加载频率4Hz-16Hz

5、试验结束后取出弹条,重新装入弹条趾端高程测量胎具中,使弹条中肢的标志线与胎具一侧相吻合,再用百分表在弹条相同位置测量趾端高程。

弹条疲劳寿命测试机 

 

相关文章:

铁路扣件弹条疲劳试验方法

弹条扣压力试验机测试方法

弹条残余变形试验测试机检测方法

扣件弹性垫层静刚度试验机测试要求

常规阻力扣件疲劳寿命测试机试验方法

铁路弹条扣件为什么要做疲劳寿命试验?

混凝土枕轨扣件组装疲劳试验机测试方法

小阻力扣件动静刚度疲劳试验机操作步骤

如何选择铁路扣件弹性垫层动刚度试验机

如何操作铁路扣件弹性垫层动刚度测试试验机?

干线铁路扣件弹条疲劳寿命试验机试验步骤

扣件弹性垫板静刚度(压力变形)试验机测试方法

铁路扣件组装扣静刚度试验机测试步骤(替代方法)