欢迎来到 济南中创工业测试系统有限公司
更新时间:2019-03-19 浏览次数:
圆环链弯曲变形试验机主要适用于矿用圆环链、矿链、三环链等做弯曲变形、弯曲挠度、弯曲断裂、弯曲负荷性能测试。圆环链在矿用领域也俗称矿链、三环链、链条,对于弯曲挠度测试时,试验机应该满足那些要求?怎么选择合适的试验机?中创试验机厂家带你了解GBT12718的标准规定。
三环链弯曲挠度值测试:
三环链弯曲变形挠度值应符合表1的规定,变形达到表1规定的挠度值时,试样不应有断裂、目视裂纹或其他缺陷。
|
三环链规格 |
10*40 |
14*50 |
18*64 |
22*86 |
24*86 |
26*92 |
30*108 |
34*126 |
38*137 |
|
比较小挠度值f |
9 |
11 |
14 |
18 |
20 |
21 |
24 |
30 |
34 |
表1 弯曲变形挠度值
对矿链的要求:
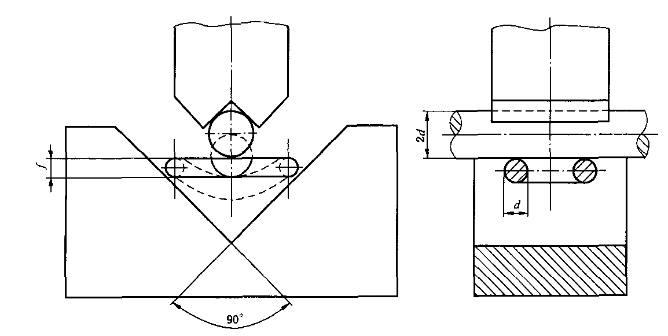
矿链弯曲试验试样表面不应涂漆。
试验夹具及加载方式见图2。弯曲试验加载应在无冲击状态下进行,比较大加载速度为20(N/mm^2).S
高强度圆环链弯曲挠度试验机主机特点:
1、圆环链弯曲挠度测试机采用数字集成电路;
2、圆环链弯曲试验机的弯曲角度由电机高速轴上取得的光电脉冲整形分频后,进行角度计数并不断累计显示;
3、弯曲变形试验机工作盘转至所设定的角度时,经逻辑电路控制,使制动电机断电停止转动;
4、配有可靠的限位机构,当电气控制部分发生失控或误操作时可及时使设备停止运转。
圆环链弯曲挠度测试仪满足参数:
|
弯曲钢筋直径范围 |
φ 6-φ40mm |
|
钢筋正向弯曲角度 |
0°-180°内任意设定 |
|
钢筋反向弯曲角度 |
0°-180° 内任意设定 |
|
工作盘转速 |
1.4 r/min |
|
辊心距离 |
165mm |
|
工作盘直径 |
φ 580mm |
|
电动机功率 |
1.5kw |
|
整机外型尺寸 |
1000*750*1200(mm) |
|
重量 |
1500kg |

销售总机:0531-85990007 传真:+86-531-85997770
常规设备:18615658728 13031706888
非标定制:18615658711 18615658716
邮箱:jnzcgy@163.com Skype:jnzcgy_zjc@hotmail.com
售后电话:0531-62302272 售后:jnzcgy_service@163.com
地址:山东省济南市槐荫经济开发区西沙路690号
版权所有:济南中创工业测试系统有限公司 | 鲁ICP备10018659-1号